运营商财经网 实习生易鑫/文
近期,南方黑芝麻举行了新的战略发布会,在会上,公司指出未来将要升级和推出新产品,打造不一样的南方黑芝麻。而要实现这样的工艺技术,离不开公司的总工程师陆振猷,运营商财经接下来就试图梳理一下他的职业过往。

据公开资料显示,陆振猷1973年出生,今年50岁,有本科学历,但官方并未披露其具体的毕业院校和毕业时间,是否是全日制本科,这也无法确认。此外,他还是一名高级工程师。
在此之前,他曾担任公司第八届、第九届董事会董事,以及公司技术研发中心的总经理、公司饮品事业部总经理兼总工程师。
而除了在公司任职外,他还在公司旗下其他公司担任过重要职位,主要都是负责研发这块。
他曾担任广西南方黑芝麻食品股份有限公司总工程师,以及江西南方黑芝麻食品有限责任公司总经理,也曾担任黑五类集团技术开发部经理和副总工程师。
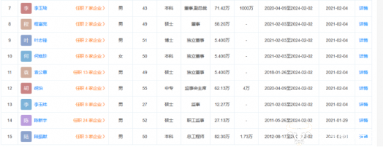
据天眼查显示,目前,陆振猷担任公司的总工程师、技术研发中心总经理职务,年薪为82.3万还不错,甚至比公司副总裁覃跃扬薪酬还高。

据黑芝麻今年上半年业绩报告显示,今年上半年公司实现营业收入约12.24亿元,同比减少5.56%;实现净利润约1739万元,同比增加156.69%。虽然营收依旧在下滑,但净利润却有大幅增长。针对营收减少,公司给出的原因是公司继续压缩部分资金结算周期长、资金占用量大且毛利低的传统电商代理业务。
未来陆振猷将在黑芝麻如何发展?运营商财经将持续关注。
(责任编辑:康玲华)
运营商财经(官方微信公众号yyscjrd)—— 主流财经网站,一家全面覆盖科技、金融、证券、汽车、房产、食品、医药、日化、酒业及其他各种消费品网站。


