运营商财经网 易鑫/文
作为国内知名啤酒企业,燕京啤酒近年来的管理层重大调整频繁引人关注。其中,公司总经理谢广军也是备受热议的一员,运营商财经接下来就试图梳理一下其职业过往。

据公开资料显示,1967年出生的谢广军今年已经56岁了,有研究生学历,但对于其学历的其他更具体的信息,目前则没有多少,因此运营商财经也无法确认这份学历的含金量究竟如何。
对于燕京啤酒而言,谢广军算是一名“老将”,他从公司的设备科副科长一步步做起,先后担任过公司计算机室副主任、企业管理办公室副主任、信息中心主任和副总经理的职位。
但副总经理并不是他升职的“天花板”,此前,他还做上了公司的副董事长和常务副总经理。
转折发生在2020年,在那年,公司原董事长、总经理赵晓东因涉嫌职务违法,被有关部门立案调查,并采取留置措施,不能正常履职,董事会决定由谢广军主持公司的各项经营活动,并由其代行公司董事长兼法定代表人。
而这一代理就是近两年,在2022年5月,燕京啤酒发布公告显示,谢广军不再代行董事长、法定代表人职责,公司选举耿超为董事长。两个月后,公司宣布决定聘任谢广军为公司的总经理,并且不再担任公司常务副总经理。
代理了两年却未实现“转正”,但谢广军也由常务副总正式任命为总经理,所以,也没啥遗憾的。
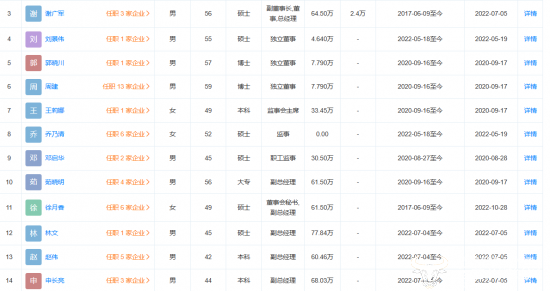
据天眼查显示,2022年谢广军的年薪为64.5万元还不错,但不如公司的副总经理申长亮的薪酬高,他的薪酬为68.03万元。

据公司今年上半年年报显示,公司上半年实现营业收入约76.25亿元,同比增加10.38%;归属于上市公司股东的净利润约5.14亿元,同比增加46.57%,营收和净利都是双位数增长,形势较好。
未来谢广军和燕京啤酒将如何发展?运营商财经将持续关注。
(责任编辑: 易鑫)
分享至:


